En el mundo de la electrónica existen diferentes formas de convertir la energía eléctrica en movimiento. Una de ellas es a través de motores eléctricos, pero dentro de estos, existen diferentes tipos y formas de generarlos. Uno de los dispositivos más importantes es el motor paso a paso que funciona de una manera muy especifica. En este articulo te explicaremos que es, como funciona y algunos de los tipos más populares.
¿Qué es un motor paso a paso?
Un motor paso a paso es un dispositivo que como todos los tipos de motores convierte la energía eléctrica en movimiento mecánico. Pero a diferencia de los convencionales, este tipo tiene funciona de manera diferente. Ya que un giro completo lo divide en un número de avances o pasos iguales. En palabras sencillas, este motor tiene diferentes bobinados y dependiendo de cuales se alimenten el motor gira un cierto numero de grados (un paso) y se queda quieto. Para poder completar un giro tenemos que hacer una combinación de pulsos eléctricos a los diferentes cables de alimentación en diferentes tiempos, por que si los energizamos todos al mismo tiempo se queda bloqueado.
¿Cómo funciona un motor paso a paso?
En teoría un motor paso a paso funciona con el mismo principio que cualquier otro, es decir a través de la interacción de los campos magnéticos que generan las bobinas y los imanes permanentes. La diferencia es que este tipo tiene diferentes juegos de bobinas en el estator y estos están conectados de manera independiente unos de otros. Por lo que cuando se energiza un juego, el rotor gira hasta ese punto pero no mas haya ya que no tiene un conmutador para cambiar la polaridad de la corriente.
En palabras mas detalladas, el funcionamiento de este motor esta basado más en el estator que en el rotor. Ya que el rotor solo se encarga de reaccionar a los polos magnéticos que se generan en el estator. Por ejemplo, si tenemos 4 bobinas en el estator y energizamos una. Los campos magnéticos que se generaron hacen que el rotor reaccione y se alinee, pero ese es su punto máximo de giro. Para que el rotor pueda dar un paso mas, necesitamos energizar otra bobina y así sucesivamente.
Dentro de los motores paso a paso existen dos formas diferentes de configurar y energizar las bobinas del estator. Por lo que podemos encontrar dos formas diferentes de funcionar, sin importar que tipo de motor sea. Es decir que no importa si es un motor de reluctancia variable, de imán permanente o hibrido cualquiera puede funcionar bajo estas dos configuraciones
Motor paso a paso Unipolar
En esta configuración cada bobina del estator se energiza de manera independiente. Por lo que es más fácil de controlar, pero como desventaja es que tiene un poco menos de torque. Dentro de esta configuración podemos encontrar tres formas diferentes de energizar las bobinas.
Secuencia normal
En este funcionamiento siempre se energizan 2 bobinas a la vez para que el motor pueda dar un paso. Con esta secuencia se obtiene un torque alto.

Secuencia wave drive (paso completo)
En esta secuencia se activa una sola bobina a la vez, por lo que el rotor gira hacia la bobina activa. Con esta forma se consigue un funcionamiento más suave, pero el torque es menor.

Secuencia de medio paso
Este funcionamiento es una combinación de los dos anteriores. Es decir, primero se energiza una bobina y cuando el rotor se alinea se energiza la siguiente bobina para que el rotor de el siguiente paso. Después se quita la energía en la primera bobina para que el rotor avance de nuevo. En palabras sencillas se activa la primer bobina, después se energiza la segunda y por último se quita la energía de la primera.
Motor paso a paso Bipolar
En este tipo de configuración se conectan dos bobinas en serie pero siempre se colocan una frente a otra. Al tener dos bibonas que generan polos magnéticos, este tipo tiene un mayor torque de funcionamiento pero es más complicado de controlarlo. Ya que conforme el rotor va dando los pasos, se necesita invertir las polaridades de las bobinas para que este pueda seguir girando hacia el mismo lado. Normalmente para controlar este tipo de motores es utilizan puente H o circuitos electrónicos más complejos.

Tipos de motores paso a paso
Aunque estamos hablando del mismo motor eléctrico existen diferentes formas de construirlos y por ende tienen variaciones en sus características. A continuación te explicamos los diferentes tipos que existen;
- Paso a paso de reluctancia variable (PV)
- Paso a paso de imán permanente (PM)
- Hibrido
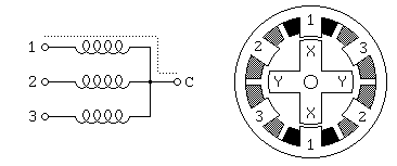
Motor paso a paso de reluctancia variable
Este tipo de motores se caracteriza por que el rotor no tiene ninguna forma de crear un campo magnético por si solo (con bobinas o imanes permanentes), solo esta conformado por una serie de laminas con salientes que reaccionan ante los campos magnéticos del estator. Es decir que, cuando polarizamos una bobina esta genera un campo magnético y el saliente mas cercano gira hacia ese campo. Debido a que el rotor no cuenta con algo que genere magnetismo este tipo de motores tienen un torque bastante bajo y se pueden generar vibraciones durante los giros
Normalmente estos motores tienen tres juegos de bobinas totalmente diferentes donde en cada uno se colocan dos bobinas en serie, pero de manera opuesta, es decir una frente a la otra. Para simplificar el funcionamiento y la forma de manipular el giro de este motor, los juegos que se conectan a un punto en común que es el neutro o la tierra y en el otro extremo se dejan sueltos para energizar los diferentes juegos de bobinas. Por ejemplo si un motor tiene 3 juegos de bobinas tendrá 4 cables uno para el neutro y los otros tres serán para energizar las bobinas.
Motor paso a paso de imán permanente
La principal diferencia de este motor, es que en el rotor se colocan imanes permanentes. Estos están configurados en forma de dientes para tener un movimiento mas preciso y fácil de controlar. Normalmente este tipo de motores esta configurado para tener 200 pasos diferentes, es decir que con 200 avances se completa un solo giro en el rotor. Aunque también existen diferentes configuraciones donde se ajustan los pasos según las aplicaciones. Dentro de las variaciones podemos encontrar con motores que van desde tan solo 4 hasta 200 movimientos.
En este tipo de motores el funcionamiento es prácticamente el mismo. Es decir, los campos magnéticos del estator y del rotor reaccionan entre si para generar movimiento. La única diferencia de este tipo es que se le colocan imanes permanentes al rotor por lo que puede llegar a tener un mayor torque. Este tipo de imanes tienen una configuración circular en forma de dientes casi parecida a un engrane, pero sus dientes dependen del numero de pasos que tenga el motor. En el ejemplo más común para un motor de 200 pasos los imanes permanentes tienen un aproximado de 50 dientes.
En cuanto a su funcionamiento es bastante sencillo, ya que cuando se energiza una bobina esta crea un campo magnético y el diente mas cercano del imán reacciona para alinearse.
Motor paso a paso hibrido
Este tipo de motores como es de esperar combina las características de los motores de reluctancia variables y los de imán permanente. Es decir que, el rotor tiene tanto como imanes permanentes como salientes ferromagnéticos, por lo tanto se aprovechan las diferentes características en un solo motor.
Conclusión
Los motores paso a paso son una gran herramienta para situaciones donde la precisión de los movimientos es importante. Pero también es importante mencionar que este tipo de motores funciona solo cuando los sistemas requieren de pasos definidos. Por ejemplo, podemos aplicar un motor paso a paso a un brazo robótico que siempre hace los mismos movimientos. Sin en cambio si tenemos un sistema donde los movimientos son más aleatorios nos veríamos limitados por la cantidad de pasos que tenga el motor.
Artículos recomendados para ti
Si te gusto nuestro post no dudes en visitar nuestro otros artículos donde te explicamos los temas de una manera fácil y sencilla de entender
Preguntas frecuentes del motor paso a paso
- ¿Qué es un motor paso a paso? Un motor que divide un giro completo en un número de pasos iguales.
- ¿Cuáles son los tipos de motores paso a paso? Motor paso a paso de reluctancia variable (VR), de imanes permanentes (PM) e Híbridos.
- ¿Dónde se utilizan estos motores? Se utilizan en impresoras 3D, CNC, robótica, cámaras, telescopios y más.
- ¿Qué es el torque? Es la fuerza de rotación que el motor puede ejercer.
- ¿Qué es un controlador para motores paso a paso? Es un circuito electrónico que controla la secuencia y velocidad de energizado de las bobinas, para controlar los pasos.
- ¿Cuál es la diferencia entre un motor unipolar y bipolar? La diferencia se encuentra en como se conectan las bobinas del estator.
- ¿Estos motores gastan mucha energía? Si, tienden a consumir más energía que otros tipos, por que cuando están en reposo necesitamos tener las bobinas energizadas para mantener la posición del rotor.








